欧冠网站

欢迎光临欧冠网站-欧冠(中国) 网站!

旋风除尘设备
您的位置: 欧冠网站>>产品中心>>车间除尘设备>>旋风除尘设备
  • CLK扩散式旋风除尘器

CLK扩散式旋风除尘器

  • 【广绿】CLK扩散式旋风除尘器CLK扩散式旋风除尘器,适用于捕集干燥的非纤维性的颗粒状粉尘,主要特点是筒身呈倒圆锥形,因而减少了含尘气体自筒身中心短路到出口去的可能性,并装有圆锥形的反射屏,防止两次气......
  • 咨询热线:15720490226
  • 产品详情

CLK扩散式旋风除尘器

【广绿】CLK扩散式旋风除尘器
CLK扩散式旋风除尘器,适用于捕集干燥的非纤维性的颗粒状粉尘,主要特点是筒身呈倒圆锥形,因而减少了含尘气体自筒身中心短路到出口去的可能性,并装有圆锥形的反射屏,防止两次气流将已经分离下来的粉尘重新卷起,被上升气流带出,因而提高了除尘效率。适用于冶金、铸造、建材、化工粮食、水泥等行业中,捕集干燥的非纤维性颗粒状粉尘和烟尘除尘,可做回收物料设备使用。
CLK扩散式旋风除尘器是利用旋转气流所产生的离心力将尘粒从含尘气体中分离出来的除尘装置。它具有结构简单、体积较小、操作方便、不受含尘气体的浓度和温度限制、性能稳定不需维护、使用寿命长等优点,适用于净化大于5~15微米的非粘性、非纤维的颗粒粉尘,除尘效率可达80%。旋风除尘器多用于与其它除尘设备配合使用,也可单独使用。
工作原理:
含尘气体从进气口进入后,沿器壁以螺旋状由上而下向底部圆锥体运动,形成下降的外旋气流,在强烈旋转过程中所产生的离心力将密度远远大于气体的尘粒甩向器壁,尘粒一旦与器壁接触,便失去惯性而靠入口速度的动量和自身的重力沿壁面下落进入集灰斗。旋转下降的外旋气流在到达圆锥体时,因圆锥形的收缩而向除尘器中心靠拢。根据旋矩不变原理,其切向速度不断提高,粉尘粒子所受离心力也不断加强。当气流到达圆锥体下端某一位置时,即以同样的旋转方向沿除尘器的轴心部位转而向上,形成上升的内旋气流,并由除尘器的排气管排出。
主要特点:
1.筒身呈倒圆锥形,逐渐增大自锥体壁至锥体中心的距离,减小了含尘气体由锥体中心短路到排气管的可能性。
2.装有倒圆锥形的反射屏,使已经被分离的粉尘沿着锥体与反射屏之间的环缝落入灰斗,以防止二次气流将已分离下来的粉尘重新卷起,被上升气流带出,因而提高了除尘效率。
技术性能
型号规格进口风速(M/S)处理风量(m2/h)阻力(Pa)效率(%)外型尺寸(mm)重量(kg)
CLK-ф15010-20210-42010095380×121033
CLK-ф200370-735466×191652
CLK-ф250595-1190566×203975
CLK-ф300840-1680631×2447103
CLK-ф3501130-2270716×2866143
CLK-ф4001500-3000808×3277225
CLK-ф4501900-3800893×3695279
CLK-ф5002320-4650983×4106347
CLK-ф6003370-67501150×4934612
CLK-ф7004600-92001325×5176819
 
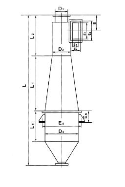
CLK扩散式旋风除尘器 结构图



版权所有©欧冠网站-欧冠(中国)   ICP备案号:   

技术支持:

15720490226